Skip to main content Skip to office menu Skip to footer
Capital Icon Minnesota Legislature

Office of the Revisor of Statutes

2400.2040 DEFINITIONS.

Subpart 1.

Scope.

For the purposes of this chapter, the terms defined in this part have the meanings given them.

Subp. 2.

Abut.

"Abut" means having a common boundary or relationship at either a common property line, street, or alley.

Subp. 3.

Accessory use.

"Accessory use" means a use that is incidental to, customarily found in connection with, and, except in the case of off-street parking spaces and loading, located on the same zoning lot as the principal use to which it is related. Generally, an accessory use occupies less square footage than the principal use.

Subp. 4.

Adjacent.

"Adjacent" means located nearby, with or without contact.

Subp. 5.

Adjoin.

"Adjoin" means having a common boundary or relationship at a common property line.

Subp. 6.

Adult uses.

"Adult uses" means those uses that are not open to the general public but exclude members of the public by means of age and in which there is an emphasis on the presentation, display, depiction, or description of specific sexual activities or specific anatomical areas. Adult uses include adult bookstores, adult motion or minimotion picture theaters, adult massage parlors, adult saunas, adult health clubs, cabarets, and other similar uses.

Subp. 7.

Alley.

"Alley" means a dedicated public way not more than 30 feet wide affording a secondary means of access to abutting property and not intended for general traffic circulation.

Subp. 8.

Antenna.

"Antenna" means any system of wires, poles, rods, towers, reflecting disks, dishes, or similar devices used for the transmission or reception of communication external to or attached to the exterior of any building, or freestanding elsewhere on the property.

Subp. 9.

Auto body shop or repair center.

"Auto body shop" or "repair center" means a shop in the business of making repairs to any motor vehicle.

Subp. 10.

Auto convenience market.

"Auto convenience market" means a place where gas, oil, lubricants, or minor accessories are sold directly to the public on the premises in combination with everyday items normally found in a convenience store or supermarket.

Subp. 11.

Automobile service station.

"Automobile service station" means an establishment where automotive fuel, tires, batteries, accessories, and parts for passenger automobiles are sold or installed.

Subp. 12.

Basement.

"Basement" means that portion of a building, partly or wholly below grade, so located that the vertical distance from the average grade to the floor is greater than the vertical distance from the average grade to the ceiling.

Basement vs. Story

Subp. 13.

Bed and breakfast residence.

"Bed and breakfast residence" means a dwelling in which four or fewer guest rooms are rented within the principal structure on a nightly basis for less than one week and where at least one meal per day is provided in connection with the sleeping accommodations. The operator of the residence lives on the premises or in an adjacent premise.

Subp. 14.

Block.

"Block" means the property abutting one side of a street and lying between the two nearest intersecting streets, crossing or terminating; between the nearest such street and railroad right-of-way, unsubdivided acreage, lake, river, or live stream; or between any of the foregoing and any other barrier to the continuity of development.

Subp. 15.

Board.

"Board" means the Capitol Area Architectural and Planning Board as created by Minnesota Statutes, section 15B.03, subdivision 1.

Subp. 16.

Boarding or rooming house.

"Boarding or rooming house" means a building designed for or used as a one-family or two-family dwelling and containing guest rooms where lodging, with or without meals, is provided for compensation on a daily, weekly, or monthly basis.

Subp. 17.

Building.

"Building" includes structure and any part thereof.

Subp. 18.

Building height.

"Building height" means the distance measured from the established grade, to the highest point of the parapet coping for flat roofs, to the highest point of mansard roofs, to the average height between eaves and the highest ridge for pitched or hipped roofs, or to the highest point of any equipment mounted on the building, with the exception of antennas, towers, and flagpoles.

Measurement of Height, Pitched, Hipped, and Mansard Roofs

Subp. 19.

Capitol area.

"Capitol area" has the meaning given in Minnesota Statutes, section 15B.02.

Subp. 20.

Comprehensive plan.

"Comprehensive plan" means the plan adopted by the board pursuant to Minnesota Statutes, section 15B.05, including any unit or part of the plan and any amendment to all or parts of the plan.

Subp. 21.

Conditional use.

"Conditional use" means a land use or development as defined by this chapter that would not be appropriate generally but may be allowed with appropriate restrictions as provided by official controls upon a finding that:

A.

certain conditions as detailed in this chapter exist; and

B.

the use or development conforms to the comprehensive land use plan of the board, and is compatible with the existing neighborhood.

Subp. 22.

Contiguous.

"Contiguous" means abutting.

Subp. 23.

Corner lot.

"Corner lot" means a lot abutting two intersecting streets where the interior angle of two adjacent sides at the intersection of two streets is less than 135 degrees. A lot abutting upon a curved street or streets shall be considered a corner lot for the purposes of this chapter if the arc is of less radius than 150 feet and the tangents to the curve, at the two points where the lot lines meet the curve or the straight street line, extended, form an interior angle of less than 135 degrees.

Corner Lots, Interior Lots, and Through Lots

Subp. 24.

Day care.

"Day care" means the care of one or more children on a regular basis, for periods of less than 24 hours per day. Day care includes family day care, group family day care, and group day care as defined in items A to C.

A.

"Family day care" means a day care program providing care for not more than ten children at one time that is licensed by the county as a family day care home. The licensed capacity must include all children of any caregiver when the children are present in the residence.

B.

"Group family day care" means a day care program providing care for no more than 14 children at any one time, of which no more than ten are under school age, that is licensed by the county as a group family day care home. The licensed capacity must include all children of any caregiver when the children are present in the residence.

C.

"Group day care" means a day care program providing care for more than six children at one time that is licensed by the state or the city as a group day care center. Group day care includes programs for children known as nursery schools, day nurseries, child care centers, play groups, day care centers for school-age children, after-school programs, infant day care centers, cooperative day care centers, and Head Start programs.

Subp. 25.

Development.

"Development" means the construction of a new building or other structure on a zoning lot, the relocation of an existing building on another zoning lot, or the use of open land for a new use.

Subp. 26.

Drive-in restaurant.

"Drive-in restaurant" means a business establishment whose principal business is the selling of food, frozen desserts, or beverages to the customer in a ready-to-consume state, in individual servings, and where the customer is served and consumes these foods, frozen desserts, or beverages in an automobile parked on the premises.

Subp. 27.

Dwelling unit.

"Dwelling unit" means a building or portion of a building, designed for occupancy by one family for residential purposes and having cooking facilities.

Subp. 28.

Elevation.

"Elevation" means the height of a point expressed in feet above mean sea level, sea level datum of 1929 adjusted.

Subp. 29.

Emergency housing facilities.

"Emergency housing facilities" means a building where homeless or abused persons receive overnight shelter on a time-limited basis but are not expected to remain on a 24-hour-per-day basis.

Subp. 30.

Essential services.

"Essential services" means the erection, construction, alteration, or maintenance by public utilities or municipal departments of underground, surface, or overhead gas, electrical, steam, fuel, or water transmission or distribution system, collection, communication, supply, or disposal system, including towers, poles, wires, mains, drains, sewers, pipes, conduits, cables, fire alarm and police call boxes, traffic signals, hydrants, and similar equipment in connection to those services, but not including buildings, which are necessary for the furnishing of adequate service by the utilities or municipal departments for the general health, safety, or welfare.

Subp. 31.

Family.

"Family" means one or more persons, but not more than four if unrelated, living as a single housekeeping unit in a dwelling.

Subp. 32.

Fast food restaurant.

"Fast food restaurant" means a business establishment whose principal business is the selling of standardized, preprepared, quick-order, and packaged foods in a ready-to-consume state, packaged in nonreturnable, disposable containers or wrapping, where the customer may consume these foods while seated at fixed tables or counters located within a building or in a vehicle after being served at a drive-through window. All restaurants with drive-through windows are considered fast food restaurants.

Subp. 33.

Floor area.

"Floor area" means the sum of the horizontal areas of all floors of a building measured from the exterior faces of the exterior walls or from the centerline of walls separating two buildings. The floor area is exclusive of areas of unfinished basements, unfinished attics, or attached garages and structured parking.

Subp. 34.

Floor area ratio or FAR.

"Floor area ratio" or "FAR" means the total floor area of all buildings or structures on a zoning lot divided by the area of that lot.

Subp. 35.

Front setback line.

"Front setback line" means a line parallel to the front lot line that establishes the minimum front yard depth of a zoning lot.

Subp. 36.

Grade.

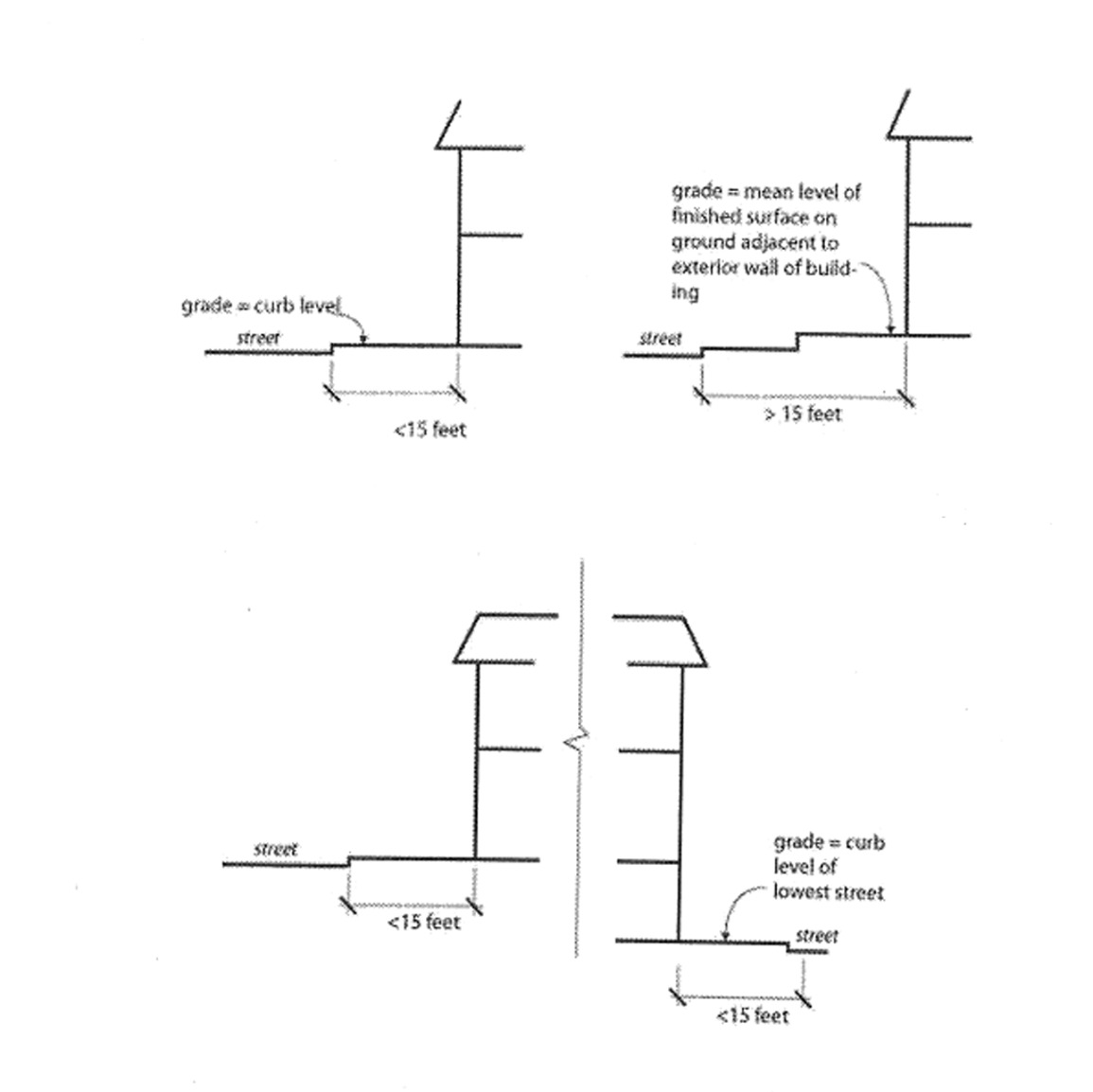
"Grade" means the elevation established for regulating the number of stories and the height of buildings. For buildings having a wall or walls on or within 15 feet of a street line, grade is curb level, or its equivalent, opposite the wall or walls. When a building has frontage on more than one street, the lowest curb level applies. For buildings having all walls more than 15 feet from a street line, grade is the mean level of the finished surface of the ground adjacent to the exterior walls of the buildings. The existing grade of the property may not be raised around a new building or foundation in order to comply with the height requirements of this chapter.

Grade Measurements

Subp. 37.

Gross leasable floor area.

"Gross leasable floor area" means the total floor area of a building or structure designed for the tenants' occupancy and exclusive use, including basements, mezzanines, and upper floors, expressed in square feet and measured from the outside face of the exterior walls and from the centerline of common walls or joint partitions. Gross leasable floor area includes sales and integral stock areas, but excludes stairwells, elevator shafts, mechanical rooms, space related to the operation and maintenance of the building, and lobbies and bathrooms located for common or public use rather than for tenant or internal use.

Subp. 38.

Home occupation.

"Home occupation" means an occupation or business carried on in a dwelling unit by the resident, provided the use is limited in extent, incidental and secondary to the use of the dwelling unit for residential purposes, and does not change the character of the dwelling unit.

Subp. 39.

Housing for the elderly.

"Housing for the elderly" means a multiple-family structure controlled by either a public body, institutional body, or nonprofit corporation, 80 percent of whose occupants are 65 years of age or over.

Subp. 40.

Impervious coverage.

"Impervious coverage" means the total area of all buildings, measured at grade; all accessory structures, including pools and patios; and all paved areas as a percentage of the total area of the lot, with the following exceptions: sidewalks or paved paths no wider than three feet, pervious pavement, and green roofs.

Subp. 41.

Interior lot.

"Interior lot" means any lot other than a corner lot.

Subp. 42.

Live-work unit.

"Live-work unit" means a dwelling unit in combination with a shop, office, studio, or other work space within the same unit, where the resident occupant lives and works.

Subp. 43.

Loading space.

"Loading space" means an off-street space on the same lot with a building or group of buildings, for the temporary parking of a commercial vehicle while loading and unloading merchandise or materials.

Subp. 44.

Lot.

"Lot" means a parcel of land occupied and used, or intended to be occupied and used, by a building or a group of buildings, together with yards and open spaces as are required under this chapter, whether or not specifically designed as such on public records.

Subp. 45.

Lot area.

"Lot area" means the total horizontal area within the lot lines of the lot.

Subp. 46.

Lot depth.

"Lot depth" means the median horizontal distance between the front and rear lot lines.

Subp. 47.

Lot frontage.

"Lot frontage" means the width of a lot measured along the line separating the lot from any street, except that, for a lot that abuts on more than one street, the lot frontage is the sum of the width of the lot measured along the line separating the lot from the street yielding the least width plus one-half of the widths of the lot measured along the lines separating the lot from the other streets.

Subp. 48.

Lot of record.

"Lot of record" means a parcel of land, the dimensions of which are shown on a document or map on file with the county recorder or registrar of titles or in common use by state, municipal, or county officials, and that actually exists as shown.

Subp. 49.

Lot width.

"Lot width" means the horizontal distance between the side lot lines, measured at the two points where the building line or setback line intersects the side lot lines.

Lot Width is Measured at Building Line

Subp. 50.

Major thoroughfare.

"Major thoroughfare" means an arterial street designated as a major artery or freeway in the comprehensive plan.

Subp. 51.

Multiple-family dwelling.

"Multiple-family dwelling" means a building designed exclusively for occupancy by three or more families living independently of each other.

Subp. 52.

Nonconforming building or sign.

"Nonconforming building or sign" means a building or portion of a building or a sign that lawfully existed prior to the effective date of the applicable rule or amendment, whichever is later, and that, on or after the effective date of the applicable rule or amendment, no longer conforms to this chapter pertaining to the district in which it is located.

Subp. 53.

Nonconforming use.

"Nonconforming use" means a use of land or a building that lawfully existed prior to the effective date of the applicable rule or amendment, whichever is later, and that, on or after the effective date of the applicable rule or amendment, does not conform to the use rules of the district in which it is located.

Subp. 54.

Nuisance.

"Nuisance" means an unreasonably offensive, annoying, unpleasant, or obnoxious thing or practice; a cause or source of unreasonable annoyance, especially a continuing or repeating invasion of any physical characteristics of activity or use across a property line that can be perceived by or affects a human being; or the unreasonable generation of an excessive or concentrated movement of people or things including, but not limited to, noise, dust, smoke, odor, glare, fumes, flashes, vibration, shock waves, heat, electronic or atomic radiation, objectionable effluent, passenger traffic, invasion of nonabutting street frontage by traffic, or noise or congregation of people, particularly at night.

Subp. 55.

Nursing home.

"Nursing home" has the meaning given in Minnesota Statutes, section 144A.01, subdivision 5.

Subp. 56.

Obscuring fence.

"Obscuring fence" means a fence that is 80 percent or more opaque.

Subp. 57.

Off-street parking lot.

"Off-street parking lot" means a facility providing vehicular parking spaces along with adequate drives and aisles for maneuvering, so as to provide access for entrance and exit for the parking of more than three vehicles. This includes adequate driveways, access ways, parking bays, garages, or combinations thereof, but does not include public roads, alleys, and streets.

Subp. 58.

One-family dwelling.

"One-family dwelling" means a building designed exclusively for and occupied by one family.

Subp. 59.

Parking space.

"Parking space" means an area of definite length and width, exclusive of drives, aisles, or entrances giving access, that is fully accessible for the parking of a permitted vehicle.

Subp. 60.

Pawn shop.

"Pawn shop" means a place where a broker or other personnel loans money on deposit or pledge of personal property or other valuable thing.

Subp. 61.

Person.

"Person" includes an individual, a corporation, a partnership, an incorporated association, or any other similar entity.

Subp. 62.

Pervious pavement.

"Pervious pavement" means pavement that is designed and maintained to allow precipitation to infiltrate into the ground to reduce the volume and slow the rate of storm water runoff. Pervious pavement materials include pervious interlocking concrete paving blocks, concrete grid pavers, perforated brick pavers, and similar materials.

Subp. 63.

Principal building.

"Principal building" means a building in which the principal use of the zoning lot upon which it is situated is conducted.

Subp. 64.

Principal use.

"Principal use" means a use that is the primary use of the zoning lot upon which it is situated and that is:

A.

specifically listed in the table of uses as a permitted or conditional use in the zoning district in question; or

B.

wholly consistent with the purpose of the district and the general character of the enumerated principal uses of that district.

Subp. 65.

Public utility.

"Public utility" means a person duly authorized under federal, state, or municipal laws to furnish to the public gas, steam, electricity, sewage disposal, communication, telegraph, transportation, or water.

Subp. 66.

Restaurant.

"Restaurant" means a business establishment whose principal business is the selling of unpackaged food to the customer in a ready-to-consume state, in individual servings or in nondisposable containers, and where the customer consumes these foods while seated at tables or counters located within a building.

Subp. 67.

Setback.

"Setback" means the distance required to obtain front, side, and rear yard open space provisions of this chapter, measured from the lot line to the above-grade faces of the building.

Subp. 68.

Sign.

"Sign" means words, numerals, figures, devices, designs, or trademarks used to show or advertise a person, firm, profession, business, service, product, or message, or to provide information, warnings, or directions, including the kinds of signs described in items A to Y.

A.

"Accessory sign" means a sign that pertains to the principal use of the premises.

B.

"Advertising sign" means a nonaccessory sign related to an activity, service, or business not carried out on the premises upon which the sign is placed.

C.

"Announcement sign" means a business sign that provides an announcement of church services or other religious activities, or a directory of offices or activities within a building or group of buildings.

D.

"Billboard" means an advertising sign more than 16 square feet in area.

E.

"Business sign" means an accessory sign relating to the activity, service, or business conducted on the premises upon which the sign is placed.

F.

"Canopy sign" means a sign painted, stamped, perforated, stitched, or otherwise applied either on an awning or canopy or its valance.

G.

"Directional sign" means a sign that conveys information or requirements about orientation and direction.

H.

"Flashing, animated, or moving sign" means a sign that intermittently reflects lights from either an artificial source or from the sun; a sign that has movement of any illumination, such as intermittent flashing, scintillating, or varying intensity; or a sign that has any visible portions in motion, either constantly or at intervals, that may be caused either by artificial or natural sources.

I.

"Freestanding sign" means a sign not attached to any building and supported by uprights or braces, or mounted on the ground. Pylon and monument signs are types of freestanding signs.

J.

"Identification and name plate" means a sign stating the name of a person, firm, or institution.

K.

"Illuminated sign" means a sign upon which artificial light is directed or which has internal lighting.

L.

"Marquee sign" means a permanent roofed structure attached to and supported by the building and projecting over public right-of-way.

M.

"Monument sign" means a freestanding sign not attached to a building where the base of the sign structure is on the ground or a maximum of 12 inches above the adjacent grade, and the width of the top of the sign is no more than 120 percent of the width of the base.

N.

"Nonaccessory sign" means a sign that does not pertain to the principal use of the premises.

O.

"Political sign" means a temporary sign that displays information pertaining to an upcoming governmental district, city, county, state, or national election, or an issue pending before the legislature.

P.

"Projecting sign" means a sign attached to a building or other structure and extending beyond the surface of the portion of the building line or extending over public property.

Q.

"Pylon sign" means a freestanding sign supported by one or more poles with a clear space of ten feet or greater between the bottom of the face of the sign and the ground.

R.

"Real estate sign" means a business sign placed upon a property advertising that particular property for sale, for rent, or for lease.

S.

"Real estate development sign" means a business sign placed on the premises of a subdivision or other real estate development.

T.

"Roof sign" means a sign, any part of which is erected upon, over, or above a roof of a building.

U.

"Temporary sign" means any type of sign, flag, banner, or similar object other than a political sign intended to be displayed for a short time for special events except as otherwise regulated in this chapter. A vehicle or portable sign is not a temporary sign.

V.

"Transit shelter sign" or "bench sign" means an advertising sign affixed to the side or length of a transit shelter or bench that is unrelated to the transit purpose of the shelter or bench.

W.

"Vehicle sign" or "portable sign" means a portable business sign painted on or attached to a vehicle or a chassis with wheels, skids, or other frame that is not permanently mounted in the ground or attached to a building and used for temporary messages or announcements.

X.

"Wall sign" means a sign erected against a wall of a building or structure with the exposed face of the sign in a plane approximately parallel to the plane of the wall and not extending more than 12 inches beyond the surface of the portion of the building wall on which it is erected. Wall signs include murals, whether painted or applied upon the walls with a commercial message or content. In the case of murals, any lettering or symbols that relate directly to the nature of business on the premises shall be considered in the allocation of signage for the property.

Y.

"Window sign" means a permanent or temporary sign posted inside a storefront or window that provides or advertises information concerning certain products, prices, or other messages directly related to the conduct of business on the premises. Window sign does not include the temporary posting of flyers or promotions for timely events of a religious, civic, or neighborhood nature.

Subp. 69.

Sign area.

"Sign area" means the area within a continuous perimeter enclosing the limits of writing, representation, and any other integral part of the sign display, excluding the supporting structure. When the faces of a back-to-back sign are parallel or within 35 degrees of parallel, the sign face area shall be determined on the basis of only one side of the sign. If the sign faces are not within 35 degrees of parallel, the sign face area shall be determined on the basis of the sum of the areas of each sign face.

Subp. 70.

Story.

"Story" means the part of a building included between the surface of one floor and the surface of the next floor or, if the topmost floor, the ceiling or roof next above. A basement is not counted as a story.

Subp. 71.

Story, half.

"Story, half" means an uppermost story lying under a sloping roof having an area of at least 200 square feet with a clear height of at least seven feet six inches. For the purpose of this chapter, the gross floor area is only that area having at least four feet clear height between the floor and ceiling.

Subp. 72.

Street.

"Street" means a public dedicated right-of-way, other than an alley, that affords the principal means of access to abutting property.

Subp. 73.

Street line.

"Street line" means the property line separating private or public property from a designated street right-of-way.

Subp. 74.

Supervised living facility licensed by the Department of Human Services.

"Supervised living facility licensed by the Department of Human Services" means one main building or portion of the building on one zoning lot where children or persons with developmental or physical disabilities or who have a chemical dependency reside on a 24-hour basis under the auspices of a program licensed by the Minnesota Department of Human Services to provide lodging, care, training, education, supervision, habilitation, rehabilitation, or treatment they need but that for any reason cannot be furnished in their own homes. Supervised living facilities specifically do not include hospitals, prisons, juvenile detention centers, reformatories, residential facilities for programs licensed by the Minnesota Department of Corrections, foster homes, or treatment centers operated by the commissioner of human services.

Subp. 75.

Supervised living facility licensed by the Department of Health.

"Supervised living facility licensed by the Department of Health" means one building or portion of the building on one zoning lot that is licensed by the commissioner of health as a rooming or boarding house and receives 50 percent or more of its residents under a contract with state or local government human service agencies to provide lodging for people with developmental disabilities or chemical dependency.

Subp. 76.

Through lot.

"Through lot" means an interior lot with frontage on two streets.

Subp. 77.

Townhouse dwelling.

"Townhouse dwelling" means a one-family dwelling unit, within a linear group of horizontally attached dwellings, each having a private entrance.

Subp. 78.

Transitional housing facility.

"Transitional housing facility" means a building or portion of a building on one zoning lot where persons who may or may not have access to traditional or permanent housing, but who are capable of living independently within a reasonable period of time, reside on a 24-hour-per-day basis for approximately 30 days, and participate in program activities to facilitate their independent living.

Subp. 79.

Two-family dwelling.

"Two-family dwelling" means a building designed exclusively for occupancy by two families living independently of each other.

Subp. 80.

Underground structure.

"Underground structure" means a completed building designed to be built partially or wholly below grade that was not intended to serve as a substructure or foundation of a building.

Subp. 81.

Usable floor area.

"Usable floor area" means the floor area used for or intended to be used for the sale of merchandise or services, or for use to serve patrons, clients, or customers, and all that area devoted to employee workspace, but excluding floor area that is used or intended to be used principally for the storage of merchandise, hallways, or elevator or stair bulkheads, or for utilities or sanitary facilities.

Subp. 82.

Use.

"Use" means the principal purpose for which land or a building is arranged, designed, or intended, or for which land or building is or may be occupied.

Subp. 83.

Used for.

"Used for" includes arranged for, designed for, intended for, maintained for, or occupied for.

Subp. 84.

Wind energy conversion system.

"Wind energy conversion system" means an electrical generating facility composed of one or more wind turbines and accessory facilities, including power lines, transformers, substations, metrological towers, and similar components that operate by converting the kinetic energy of wind into electrical energy. The energy may be used on site or distributed into the electrical grid.

Subp. 85.

Wind turbine.

"Wind turbine" means a piece of electrical generating equipment that converts the kinetic energy of flowing wind into electrical energy through the use of airfoils or similar devices to capture the wind.

Subp. 86.

Yard.

"Yard" means the open spaces on the same lot with a principal building, unoccupied and unobstructed from the ground upward, except as otherwise provided in items A to C and this chapter.

A.

"Front yard" means an open space extending the full width of the lot, the depth of which is the minimum horizontal distance between the front lot lines and the nearest point of the principal building.

B.

"Rear yard" means an open space extending the full width of the lot, the depth of which is the minimum horizontal distance between the rear lot line and the nearest point of the principal building. In the case of a corner lot, the rear yard may be opposite either street frontage.

C.

"Side yard" means an open space between a principal building and the side lot line, extending from the front yard to the rear yard, the width of which is the horizontal distance from the nearest point of the side lot line to the nearest point of the principal building.

Subp. 87.

Zoning administrator.

"Zoning administrator" means an employee of the board designated by the board upon the recommendation of the executive secretary to implement, monitor compliance with, and manage all parts of the zoning rules under this chapter in the Capitol area. The executive secretary shall serve as the zoning administrator in the designee's absence.

Subp. 88.

Zoning lot.

"Zoning lot" means a single tract of land, composed of one or more lots located within a single block, that, at the time of filing for a building permit, is designated by its owner or developer as a tract to be used, developed, or built upon as a unit under single ownership or control. A zoning lot must be in one zoning district and satisfy this chapter with respect to area, size, dimension, and frontage as required in the district in which the zoning lot is located.

Statutory Authority:

MS s 15B.06

History:

34 SR 900

Published Electronically:

January 15, 2010

Official Publication of the State of Minnesota
Revisor of Statutes